주가가 횡보한다고 해서, 테슬라가 일하지 않는 것이 아닙니다. 새벽에도 많은 활동의 기사들이 있었습니다.
1. 스페이스x가 캘리포니아에 본사를 둔 SwarmTechnologies와 계약을 했습니다. SwarmTechnologies는 저렴한 위성 네트워크 연결을 목표로 하는 기업입니다.
이 기사를 통해 알 수 있는 것은 스페이스x가 다른 위성 통신 업체들을 위해 우주로 위성을 보내주는 사업도 하고 있다는 내용입니다. 스페이스x에 좌석 공유 프로그램이 있는데 팔콘9호를 날릴 때 같이 위성도 실어 발사하는 것으로 생각이 됩니다. 이 업체와는 24개의 스페이스 빈 위성 발사를 계약 했고, 작은 위성은 100만 달러이고, 팔콘9호 비행을 예약하려면 6,000만 달러 이상의 비용이 들 수 있습니다.


2. 스페이스x에서 몇 차례 지연되었던 스타링크과 블랙스카이를 금요일에 쏘아 올린다고 합니다.
스타링크 위성은 최근 8차례 정도 연기가 됐습니다. 6월 23,25, 26일, 7월 11, 29, 31일 등등.
이번 발사는 8월 7일(금)이며, 오전 1시 12분 경(현지 시간) 플로리다에 있는 미 항공 우주국 케네디 우주 센터 발사대 39A에서 실행됩니다.

3. 보링 컴퍼니가 라스베가스 터널 2곳을 추가로 승인 받았습니다.


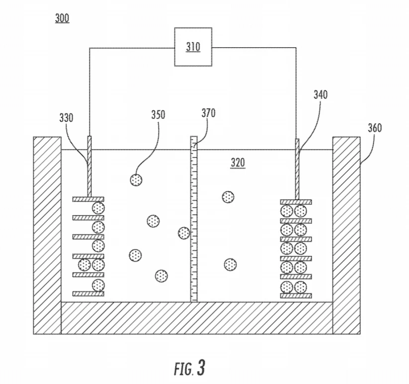
4. 내용이 복잡한데 쉽게 말해, 리튬 디플루오로 인산염에 기초한 새로운 배터리 시스템을 특허 등록했다는 것입니다.



5. 테슬라에서 자율 주행 관련 특허도 냈는데, 이것은 시간열 요소로부터 기계 학습 근거를 생성한다는 내용의 특허입니다.
특허 관련해서는 항상 이해부터가 쉽지 않은데, 간단히 말해, 시간별로 센서가 차량속도, 스티어링, 방향, 방향 변경, 위치 변경, 고도 변경, 속도 변경등의 변수를 캡춰합니다. 이 데이터는 세트화 되고, 교육 서버로 전송됩니다. 이것이 다시 교육 데이터 세트를 생성하고, 이 안에서 학습이 이루어진다는 것입니다.
이해 가셨죠? ㅎ 최대한 풀어서 썼습니다. 더 잘된 표현이 있으시면 리플 달아주세요 ㅎ



6. 기팩 베를린에 대해 거의 매일 업뎃을 올리고 있는데, 올라오는 속도가 정말 빠르며, 8월에는 페인트샵 부분의 공사와 북쪽 확장 공사가 진행됩니다. 페인트샵은 최고의 장비가 들어간다고 머스크가 말했습니다.



'테슬라(Tesla)' 카테고리의 다른 글
| 2020. 08. 09. 테슬라 소식 (4) | 2020.08.09 |
|---|---|
| 2020. 08. 08. 테슬라 소식 (0) | 2020.08.08 |
| 2020. 08. 06. 테슬라 소식. (4) | 2020.08.06 |
| 2020. 08. 05. 테슬라 소식 (0) | 2020.08.05 |
| 2020. 08. 04. 테슬라 소식 (8) | 2020.08.04 |